Tesla quer Starlink ligada aos seus carros! É o fim das zonas sem Internet
Elon Musk, tal como muitos outros, gosta de unificar as ofertas das suas empresas. Para dar força a isso, uma nova patente da Tesla revela como os carros da marca vão comunicar diretamente com os satélites da Starlink, eliminando a dependência das redes móveis tradicionais. Este é mais um passo para a visão de Elon Musk para o fim das zonas sem Internet no planeta Terra.
Tesla quer Starlink nos seus carros
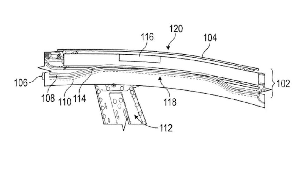
A Tesla continua a traçar um caminho onde a inovação não se limita apenas à propulsão elétrica ou à condução autónoma. O foco agora parece estar na conectividade total, com a marca a preparar o terreno para integrar as antenas Starlink na estrutura dos seus veículos. Este passo, revelada numa nova patente (Pub. No U.S. 2025/0368267), promete resolver um dos problemas mais comum nos carros. As zonas "mortas" sem cobertura de rede celular.
Atualmente, quem conduz um Tesla depende da conectividade LTE/5G para aceder a mapas, atualizações de software via OTA ou serviços de streaming. No entanto, em viagens por zonas remotas, essa ligação perde-se com facilidade. Ao integrar o hardware da SpaceX nos carros, a Tesla garante uma comunicação ininterrupta com a constelação de satélites, transformando o veículo num ponto de acesso global e constante.
O grande desafio técnico desta integração reside na interferência dos materiais. Os tejadilhos metálicos ou os vidros convencionais bloqueiam os sinais de alta frequência necessários para a comunicação por satélite. A solução detalhada pela Tesla passa pela utilização de novos materiais compósitos e polímeros avançados, que são "transparentes" às ondas de rádio.
Solução invisível para problema real
Isto permite que a antena seja instalada de forma interna e invisível, preservando o design minimalista e aerodinâmico que define a marca. Esta evolução é estratégica e vai muito além do simples acesso ao Spotify ou ao YouTube em qualquer lugar.
Para o desenvolvimento do Full Self-Driving (FSD) e da futura frota de Robotaxis, a redundância na ligação à rede é crítica. Um veículo autónomo precisa de comunicar com a frota e receber dados de navegação em tempo real; com a Starlink, esse fluxo de informação deixa de estar refém das torres de telecomunicações terrestres.
Embora a patente ainda não confirme uma data de lançamento, a sinergia entre a Tesla e a SpaceX torna este passo lógico e quase inevitável. É o ecossistema de Musk a fechar-se, oferecendo uma vantagem competitiva que nenhum outro fabricante automóvel consegue, de momento, igualar.

























Sem operadores não pode, são os operadores que detêm os direitos sobre o espectro
Hein ?
Diria que isto só será possivel em localizações do mundo onde a starlink opere, e ai terá as licensas necessárias.
What? Tu para usares starlink em casa não precisas deo perador nenhum
Boa… Vou por um carro no Iate que fica mais barato dar a volta ao mundo com ele no heliporto do que pagar a subscrição mensal do satélite marine…
Ya imagine ter dinheito para ter um Iate com heliporto mas a subscrição marine é cara mais vale meter o carro la para cima para fazer de hotspot
“Para o desenvolvimento do Full Self-Driving (FSD) e da futura frota de Robotaxis, a redundância na ligação à rede é crítica. Um veículo autónomo precisa de comunicar com a frota e receber dados de navegação em tempo real”.
Os veículos com sistemas de navegação autónoma, até os sistemas da Tesla, que não são os melhores, navegam sem precisar de dados externos (da internet). Os carros precisam da ligação à internet para outras coisas, mas não para navegar. Isto percebe-se – se precisassem de dados da internet para navegar – paravam quando não houvesse, o que não acontece.
Vocês sabem muito pouco de como funciona um Tesla, claro que precisa de NET, aliás está sempre ligado, o meu indica imediatamente o trânsito, e funciona incrível, ainda ha dias estive a 200m de 1 acidente acabado de acontecer, as pessoas e o transito estava a parar no momento, e logo, logo o meu GPS mostrou o transito parado ( aparece a vermelho) e logo me indicou a saida para rota alternativa. Agora aprendi a confiar nele, indica sempre a rota mais rapida. Só pode funcionar assim ligado á net.
Só nas percebo em que dados se baseia para dar uma situação de transito tão imediata, o delay é de talvez uns 10-15 segundos.
O GPS é informação por satélite que não é obtida via internet. O que estás a dizer é o mesmo que faz um navegador por GPS, como o Google Maps ou o Waze num smartphone com dados móveis (ligado à internet móvel do operador): “Há um acidente a 600 metros, saia na próxima saída”.
Mas o post refere-se à navegação autónoma, no caso, ao FSD da Tesla. E pode-se ficar com a ideia que só faz a navegação se estiver ligado à internet. E não é assim, tal como um condutor humano (a menos que o navegador GPS o informe), não saberá que houve um acidente a 600 metros mas continua a navegação (com as câmaras e o software que tem instalado).
Só quis precisar que – um veículo autónomo não precisa receber dados de navegação em tempo real da internet. Se tiver sempre internet, ótimo.
Sim, compreendo essa parte e já imaginava isso, mas no que não compreendo é como a Google obtem esses dados , o GPS é uma só via, satelite para a antena receptora, seja um telemóvel, seja um carro, mas primeiro o satélite tem que ter essa informação em tempo real ou quase, será através das antenas dos telemóveis? Porque dos GPS dos carros é pouco provável, a maioria não tem GPS. Essa é a minha curiosidade
Os próximos teslas vão trazer uma parabólica no tejadilho.
E ler ? Custa assim tanto ?
Dava trabalho ler o artigo eu percebo