Futuros AirPods terão um reconhecimento de gestos mais rápido e mais preciso
A Apple encontra-se a investigar uma nova abordagem para tornar a interação com os seus auscultadores sem fios mais rápida e eficiente. De acordo com uma patente recentemente revelada, o futuro dos AirPods poderá passar pela eliminação dos sensores de toque tradicionais.
O desafio da miniaturização e da latência
Embora os AirPods tenham uma longa história de inovação no que toca ao controlo por gestos, os sistemas atuais enfrentam limitações físicas e de desempenho. Atualmente, estes dispositivos dependem de superfícies táteis e circuitos de deteção independentes, uma solução que a Apple considera subótima por ocupar um espaço precioso no interior do equipamento.
A empresa argumenta que a inclusão de elétrodos capacitivos pode tornar os auscultadores desnecessariamente pesados ou volumosos, o que prejudica o conforto do utilizador. Além disso, existe a questão da velocidade de resposta; muitos utilizadores já sentiram que o tempo entre o toque na haste e a execução do comando, como saltar uma música, não é instantâneo.
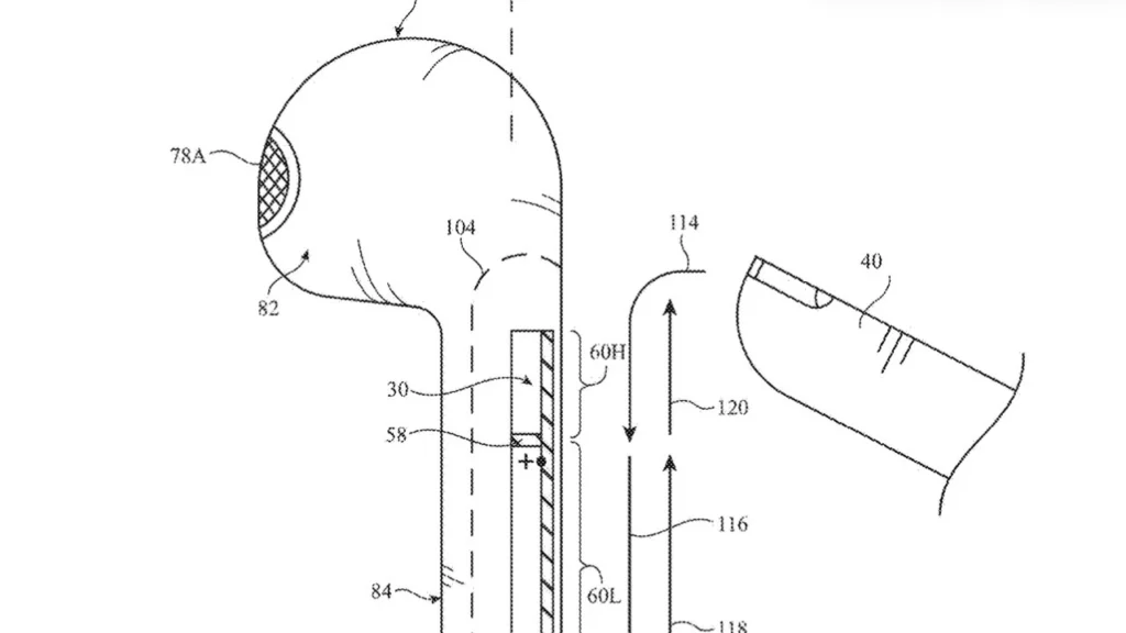
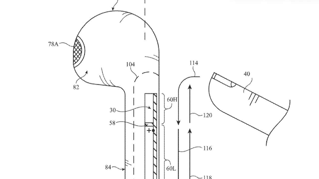
A solução proposta no documento intitulado "Gesture Detection Based on Antenna Impedance Measurements" passa por utilizar as antenas de radiofrequência (RF) já existentes como sensores de gestos. Estas antenas, responsáveis pela transmissão e receção de áudio, operam com taxas de atualização muito superiores às dos sensores capacitivos, uma vez que a prioridade do sistema é manter a fidelidade do som sem interrupções.
Ao integrar a deteção de gestos na própria antena, a Apple pretende medir as variações de impedância causadas pela proximidade de um objeto externo, como o dedo do utilizador. Esta técnica permitiria detetar comandos com uma latência significativamente menor, oferecendo uma resposta quase imediata às interações do utilizador.
AirPods da Apple terão gestos mais fluidos e serão mais leves
A remoção dos componentes táteis dedicados permitiria não só reduzir o peso total dos AirPods, mas também libertar espaço interno para outros componentes ou para uma bateria de maior capacidade. Através da monitorização das alterações na impedância, especialmente se forem utilizadas duas antenas, o sistema conseguiria identificar a direção e a velocidade de um movimento.
Isto traduzir-se-ia na capacidade de reconhecer gestos de deslize ao longo da haste dos AirPods para, por exemplo, ajustar o volume de forma precisa. O sistema seria capaz de identificar onde o gesto começa e termina, interpretando a intenção do utilizador com uma fiabilidade superior à dos métodos convencionais.
É importante ressalvar que o registo de uma patente não garante a implementação imediata da tecnologia. A Apple submete centenas de pedidos anualmente, muitos dos quais servem apenas para proteger áreas de investigação ou conceitos que podem ser abandonados em favor de outras soluções.
Leia também:





















